膠球清洗系統(tǒng)組成與收球網型號選擇說明
膠球清洗系統(tǒng)由膠球清洗裝置、膠球管路、閥門、部分循環(huán)水管路及凝汽器所組成。
干態(tài)膠球:膠球放置在空氣中的狀態(tài)。
濕態(tài)膠球:膠球吸足水后的狀態(tài)。
濕態(tài)膠球視相對密度:濕態(tài)膠球整體相對密度。
合格膠球:耐磨,質地柔軟富于彈性,材質均勻,氣孔均勻貫通,干態(tài)膠球直徑誤差不大于公稱直徑的±2%且不超過±0.4mm,濕態(tài)膠球視相對密度為1.00~1.15,在使用期內及5℃~45℃水溫下膠球直徑脹大不超標且不老化,濕態(tài)膠球直徑比凝汽器冷卻管(以下簡稱冷卻管)的內徑大1mm~2mm。
正常投球量:指投入運行的膠球數量是凝汽器單側單流程冷卻管根數的7%~13%。膠球循環(huán)一次時間短的取下限或接近下限,反之亦反。多數情況下,膠球循環(huán)一次的時間在20s~40s之間。
收球率:滿足系統(tǒng)布置、設備安裝及運行條件〔見附錄A(補充件)],在正常投球量下,膠球清洗系統(tǒng)正常運行30min,收球15min,收回的膠球數與投入運行的膠球數的百分比。
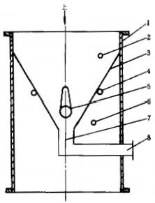
圖1SD型收球網示意圖
1一外光;2一網前測壓點;3—網板;4—導流板;5—軸;6—網后測壓點;7一膠球引出管
設備型號編制方法及參數系列
設備型號全稱由三部分組成,各部分之間用短劃“-”分開。其中:
a)一部分代表設備名稱、特征,主要用大寫漢語拼音字母表示。
b)二部分代表設備主要參數,用阿拉伯數字表示。
c)三部分代表改型設計次數,用羅馬數字表示。
型號□-□-□一改型設計次數:I,Ⅱ,Ⅲ,…。-公稱通徑(mm):1,2,3,…:———-特征;D——單板型;F——-分流型;L——漏斗型。一名稱;S——收球網(活動柵格)。
a)SD型(見圖1)表示活動柵格單板型收球網。
b)SF型(見圖2)表示活動柵格分流型收球網。
SL型(見圖3)表示活動柵格漏斗型收球網。
圖2SF型收球網示意圖
1一外殼:2—網前測壓點;3—導流板;4—軸;5-網板;6—膠球引出管;7一網后測壓點
圖3SL型收球網示意圖
1一外光;2—網前測壓點;3一網板;4一軸;5一導流冀;6—網后測壓點;7一集球斗;8-膠球引出管
收球網型號全稱舉例:SF-1800-I型表示活動柵格分流型收球網、公稱通徑1800mm、一次改型設計。
參數系列:按公稱通徑劃分為500,600,700,800,900,1000,1200,1400,1600,1800,2000,2200,2400mme
參數系列
按公稱通徑劃分為100/100,100/80,80/80mm。
收球網:
a)兩端設計有法蘭,網板前、后設有壓力測點。
b)網板的柵格縫隙應符合設計要求,其誤差不超過±0.4rm。
c)網板板面平整、光滑,平面度在500mm×500mm范圍內不大于3mrm。
d)網板具有足夠的強度和剛度。
e)活動網板與軸聯(lián)接牢固。
f)活動網板與固定網板間的間隙均勻,并應符合設計要求,其小值不得小于2mmmg)網板反洗角應符合設計要求。
h)導流板與簡壁貼合嚴密,個別不嚴處其縫隙不超過1.5mm。
i)網板在收球位置時:圍帶周邊與簡壁貼合嚴密,個別不嚴處其縫隙不超過3mm。
SF型的網板進口端相互間貼合嚴密,個別不嚴處其縫隙不超過2mm。
SF型和SD型的集球斗周邊與簡壁貼合嚴密,個別不嚴處其縫隙應小于1.5mm。
SL型的網板出口端與集球斗進口間的間隙均勻,并符合設計要求,大誤差不超過設計值的±1mme膠球通道光滑。